在预言未来蛋白质不足的问题时,非农业途径的蛋白质生产已成为工业现实。这些生产单细胞蛋白质的途径都是基于微生物的连续发酵。这在几年之前看来还仅仅是一种可能性,然而,由于对此领域的研究得到发展,许多企业单位现在已有了有成就的单细胞蛋白质生产机构。
单细胞蛋白质是含蛋白质(含氮量×6.25)50 ~ 85%的浓缩蛋白质产品。它们含有大量的氨基酸、维生素、矿物质和可利用的能(脂类和碳水化合物)以及许多像松氨酸和蛋氨酸那样丰富的必需养分。简单地说,单细胞蛋白质作为辅助的高质量饲料正在日益增长其重要性。单细胞蛋白质是可以由细菌、酵母、真菌或藻类那样的单细胞或简单的多细胞微生物而来的。在讨论单细胞蛋白质生产的科技现状之前,要恰当地考虑单细胞蛋白质的发展及其在未来世界蛋白质市场的需求。
单细胞蛋白质市场
在短时期里(80年代后期),大多数单细胞蛋白质的核酸含量较高,这就限制着它直接用于人类消费。在降低核酸含量的方法变得更经济之前,它的主要销路是动物饲料。动物饲料市场(表1)包括四类主要产品:谷物类、大豆类、鱼粉(秘鲁鲳鱼)和作为农副产品的其它蛋白质粗粉(例如:棉花子、向日葵粉)。高质量蛋白质饲料(不包括谷物类)占到总量的40%。高质量蛋白质粗粉的现状、供应和需求情况的分析列于表2。
1990年的数字是基于预期人口增长率为每年2.6%,相当于现在的44亿到1990年增长为70亿人口。这也包括增长着的个别消耗的附加需求,预期在发达国家中提高26%,期望在第三世界中提高82%。
当前正在出现的主要问题是高质量蛋白质的供应量将不能满足上述估计的未来需求量。从最近的数字看出,到1990年鱼粉的需求量可能达到每年1500万大豆当量吨,而预期的供应量只有750万吨。假使蛋白质的需求量可以用增加传统商品的生产来弥补,但是肯定地说,不恰当的分配也会造成局部地区的供应不足。还需考虑到其他的一些因素,特别是北美大豆的生产优势。商品集中在单一的地理区域会产生综合性的问题。
(1)农作物的歉收导致供应量的严重下降;
(2)进口国家的贸易平衡的压力。
例如1973年,西欧共同体国家进口了价值16亿英镑的570万吨高质量蛋白质粗粉。
鉴于蛋白质增长的需求状况,一些主要的公司和研究所正在发展一个基于微生物来代替农业的蛋白质生产系统。到1985年将会出现一个每年500万吨单细胞蛋白质的世界市场。
发酵法蛋白质生产
单细胞蛋白质的生产,基于小心控制条件下微生物的连续培养(或发酵),这是近20年来广泛发展的一种技术。正常情况下的操作,是将新鲜的培养液连续不断地送入固定体积的发酵罐,并替换出相应体积的发酵液。发酵罐的生产能力取决于:(1)培养液送入的速率(稀释速率),(2)微生物在发酵液中的浓度。后者受培养液的组分,通常是碳源所限制,保持在一个常数。
发酵法蛋白质生产,其优越性是多方面的。相对于传统的食品——农作物和动物,微生物不依赖于气候条件,能以更快的速度生长。碳源转化为蛋白质的效率是高的,每1000开发酵罐每年生产50吨是很普通的。工厂可以全年连续生产,而且工厂可设在不适宜于农业而那里又有原料可利用或需要供应高质量蛋白质的地区。
单细胞蛋白质发酵的碳源可分为三大类:(1)高体积、高能值、质量均匀的来源,例如:甲烷、甲醇、乙醇、油气和直链石蜡。(2)废物或副产品来源,例如:糖蜜、亚硫酸盐废液、乳清和纤维素化合物。(3)淀粉。直接固定的二氧化碳也考虑作为单细胞蛋白质的一种碳源。
第(1)类化合物的产量是大的,质量是均一的。虽然西欧现在的直链石蜡产量为110万吨/年,若有需要,估计单是西欧到1980年产量可迅速增长到350万吨/年。在西欧主要来自天然气的甲醇产量通常是400-450万吨/年,同样也可迅速增长。这些形状与质量合乎标准的碳源,其大量利用,反映在几种单细胞蛋白质的工艺中(表3)。
虽然利用“废物”进行单细胞蛋白质生产引起了极大的兴趣,但频繁地遇到了质量与使用价值之间的矛盾问题。然而,在一些范围内取得了进展,例如:亚硫酸盐废液的利用,碳水化合物废物的利用,农业纤维素废物的利用。淀粉正在成为日益增长的吸引人的碳源,它是一种可再利用的资源,具有迅速被微生物降解的性质。几种利用淀粉的单细胞蛋白质生产工艺正在发展中。
单细胞蛋白质生产机构
表3提供了全世界主要的单细胞蛋白质生产机构概况。此表并不齐全,它仅仅包括那些早已大量生产单细胞蛋白质的公司和已建成或即将建成大厂的公司。许多其他公司以试验工厂或小规模商业阶段发展着单细胞蛋白质的技术,其中有Rank Hovis McDougall,Tate & Lyle(都是用真菌),Anhauser Bush(用酵母、糖蜜),Boise Cascade(用酵母、硫酸盐液),和Hoechst(用细菌或酵母、甲醇)。
根据表3数字推算,到1980年和1985年的单细胞蛋白质生产的估计数字列于表4中。这是假定到1980年表中所列出的这些工厂全部开工,并接近开足生产,有一些工艺过程现在尚处于试验工厂阶段的到那时将成为商业性生产。虽然到1980年单细胞蛋白质的主要生产方法将是酵母——直链石蜡,但估计到1985年甲醇将赶上直链石蜡作为主要原料。
根据工艺的经济性可以预测,到1980 ~ 1985年,每个生产工厂的年产量平均将是100,000吨的规模。所有工厂的发酵罐将进行连续生产,微生物的浓度从20到60克/升。因此,发酵液流出的速度当浓度高时为210米3/小时(210,000升/小时);当浓度低时为625米3/小时。假定一个生长率(或叫稀释率)约为0.2/小时,则发酵罐的容积将在1100和3000米3之间。许多工艺将采用好气菌的单培养,能量消耗的主要成本(除了用于产品分离和干燥外)将是需要向溶液中输送氧气。
在蛋白质生产的总成本中,最花钱的消耗性组分是碳源,因此,所采用的工艺线路必须这样设计,即碳要以最高的效率结合到产品中去。关于蛋白质生产的许多研究方面的努力,不仅准对着各种工艺的不同工程布局,而且也准对着微生物学和生理学的必要条件与提高生产效率统一起来。正在受到特别注意的有,适宜微生物的选择,最佳的营养条件和生长环境。
这里要较详细地讨论一下两种工艺过程:由帝国化学工业公司开发的甲醇——细菌路线和由英国石油有限公司专利的直链石蜡——酵母路线。
单细胞蛋白质的甲醇——细菌路线
甲醇有几种优良的性质,导致它成为单细胞蛋白质发酵的碳源。它极易溶解于水,这就避免了关于气体碳氢化合物作碳源时的三相转移问题。一系列的原料(天然气、轻油、煤)可用来生产纯净的甲醇,尤其是帝国化学工业公司大规模地生产甲醇,并与甲醇市场保持着密切的关系。另一个有利之点是选择适宜的生长条件和产品回收条件,可以生产出不含甲醇的产品。
所选择的微生物只能以甲醇为生长所需的碳源。称为Methylophilus methylotrophus的微生物是按下列标准选择的:(1)高的甲醇消化效率,(2)高蛋白质含量,(3)高生长率,(4)稳定性,(5)高营养价值和无毒性或病原。英国化学工业公司的工艺,是在碳和能限下连续培养Methylophilus methylotrophus,稀释率为0.2/小时,干重约为30克/升,生长用的纯培养液温度为40°C。
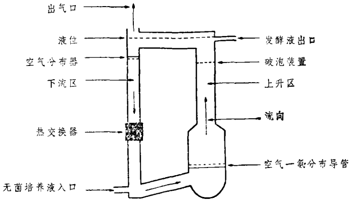
整个工艺过程中唯一的一个重要装置是压力循环发酵罐(图1)。空气和唯一的氮源——氨气一起从发酵罐的底部送入,并利用液柱(30米)的静水压力鼓入溶液中。经过灭菌的甲醇和养料也送入这个生长旺盛,大多数氧气在此消耗的区域。当发酵液上升到上升区时,氧气转化的效力降低了。在上部水平区域的废气和甲醇的氧化产物二氧化碳气体在此逸出。于是培养液通过一个换热器向发酵罐的下部流动。在下流区的底部,发酵液吸收了鼓入的新鲜空气直接进入上升区。这样一次循环便高速度地完成了氧的转化,在没有添加任何流动液的情况下,这一循环在120秒钟内完成。
从发酵罐连续流出的发酵液经过热酸处理,分离出绒毛细胞和上层清液。上层清液经过调整介质组成后又回到发酵罐中。绒毛细胞的糊状物按常规干燥成最后产品,商品名称叫“Pruteen”。
1973年以来,英国化学工业公司在英国的比林厄姆和美国的克利夫兰已有规模为40米3(1000吨/年)的实验性工厂在运转。一个容积为1500米3,生产能力50 ~ 70,000吨/年,投资4000万英镑的商业性工厂正在比林厄姆建造中,将于1979年建成。
直链石蜡——酵母路线
细菌一般有较高的碳转化效率,较快的生长速率,较高的蛋白质含量,而酵母具有较低核酸含量的优点,易于分离,许多早已当作良好的饲料。
在格兰杰默思发展的BP工艺过程,包括碳源限于馏分为C10 ~ C23的纯直链石蜡,解脂假丝酵母的连续繁殖。碳源、矿物质养料、氨和空气在进入发酵罐之前全部经过消毒,保持纯净的培养液。发酵罐是常规的反应罐,装有机械搅拌器,使不溶性的直链石蜡与其他组分混合起来。在稳定情况下,每公斤直链石蜡生产出1公斤酵母。从连续的产品液流中用离心法分离出含有15%固体的发酵醪和澄清的上层液。用喷雾干燥法使最后产品的含水量降到5%,产品的商业名称叫“Toprina G”。此工艺的典型流程图示于图2。
BP蛋白质有限公司在格兰杰默思自1971年以来正运转着一个规模为4000吨/年的工厂。它在撤罗胥有一个能年产100,000吨“Toprina”的工厂。此厂的产品正在等待意大利政府的许可之后才能开始开足生产。BP公司正在考虑筹划另外二个100,000吨/年的工厂,试着与委内瑞拉和沙特阿拉伯政府联系。
单细胞蛋白质的成分、营养价值和安全性
具有高蛋白质含量、优良氨基酸谱的鱼粉,现在认为是动物饲料中最有价值的传统高蛋白质源。因此,现代的单细胞蛋白质产品,趁预期会出现“鱼粉不足”之时直接进入鱼粉市场。单细胞蛋白质的潜在销路之一,是用作家禽和猪的高质量复合饲料,于此将占统治地位。利用单细胞蛋白质产品作为牛奶的代替品来饲养小牛犊,也将提供一个有意义的市场,单细胞蛋白质也将作为鱼、貂、兽类等的特殊食物。
与单细胞蛋白质营养价值有关的因素有:蛋白质含量,消化率,氨基酸的含量和均匀性,生物学上的可用性还有其他因素,例如盐、碳水化合物、脂类的含量和必须考虑到导致促进或降低营养价值的其他组分的存在。根据成分,许多单细胞蛋白质比鱼粉好,比大豆粉更好(表5)。
一种饲料的成分,不仅是必须切实地有助于动物的食物,而且还要安全。为了达到上述要求,必须在实验室里和饲养场里对动物广泛地进行不同含量的毒性试验和营养价值的评价,测定含有单细胞蛋白质的饲料对动物影响的许多参数,并在实验室里必须严密观察好几代。
几种单细胞蛋白质产品其中包括“PRUTEEN”和“TOPRINA”现在通过了严格的检验和评价,最近从联合国蛋白质咨询委员会得到了合格检验证。
结论性意见
在过去的十年里,单细胞蛋白质生产的研究和发展引人注目的增多。在此领域里,发酵学、微生物学以及现在出现的安全的并且营养价值大于传统蛋白质源的非传统蛋白质饲料的营养学,取得了巨大的科学进展。而且必须把现今的产品看作继续发展的许多代商品中的第一代产品。可以预期第二代的单细胞蛋白质将是进一步除去核酸,使之允许它较多地直接用于人类消耗。第三代产品可能是特别富有特种营养的浓缩蛋白质。假设预期的人口增长和蛋白质预期的数字大体上是正确的话,在这样有潜力的领域不致力于探索将是不明智的。
[译自Endeavour,New Series. 1978年2卷1期。陈义镛译]





